想了解設備資料?報價?售後?請留言,速回電
廠家直銷,留言立享本月優惠價免費提供環保政策、辦廠手續、投資預算等資料
yudnofbidj
球磨機分析選擇物料主要是隔倉闆在起作用,而隔倉闆的箅闆孔決定了磨内物料的充填程度,也就控制了物料在磨内的流速,所以隔倉闆對于球磨機的作用很重要。下面我們詳細了解球磨機隔倉闆的作用和分類,以及隔倉闆箅闆、箅孔和球磨機進、出料裝置的特點和作用。
.jpg)
把選礦設備-球磨機分隔成幾個倉,将各種大小的研磨體粗略地加以分開。要求研磨體開始以沖擊作用為主,向磨尾方向逐漸過渡到以研磨作用為主,充分發揮研磨體的粉磨能力。球磨機隔倉闆的箅闆孔決定了磨内物料的充填程度,也就控制了物料在磨内的流速。球磨機隔倉闆對物料有篩析作用,可防止過大的顆粒進入沖擊力較弱的區域,否則會造成粉碎不了的料塊堆積起來,嚴重影響粉磨效果,或者有未經磨細的物料出磨,造成産品細度不合格。
球磨機隔倉闆分單層和雙層兩種。單層球磨機隔倉闆允許初步磨過的物料通過而不作特定的篩分,已磨物料被新喂入的物料推向球磨機隔倉闆而通過第孔進入下倉内。隔倉闆的中心孔是為球磨機内部通風之用。單層隔倉闆物料的流速慢,物料前進時受下倉料面高低的影響,但單層球磨機隔倉闆在磨内所占的有效容積少。雙層球磨機隔倉闆有強制物料通過的作用,即物料前進中不受相鄰倉料面高低的影響,但球磨機雙層隔倉闆的結構比較複雜,要占用較大的空間,并且容易損壞,因此,近年來很少使用這種隔倉闆,多數使用單層隔倉闆。
箅闆孔的排列方式很多,常用的是同心圓排列和輻射狀排列。同心圓排列(圖 1-17(b))的孔是平行于物料和研磨體的運動軌迹。因此,對物料的通過阻力小,通過量較多,且不易堵塞,但過去的物料容易返回,而輻射狀箅孔(圖1-17(a))與此相反。對于雙層球磨機隔倉闆上的箅闆由于不存在物料返回問題,從而消除了同心圓排列的缺點,而保留其優點。因此,雙層隔倉闆的箅孔通常都是同心圓排列的。為便于制造,同心圓排列常以其近似形狀代替,形成多邊形排列,如圖1-17(c)所示。輻射狀箅闆對研磨體有牽制作用,使靠近箅闆附近的研磨體有較大的提升高度,于是在空腔中出現了球面的高差,因而使集聚于球載輪廓中部為數較多的大研磨體優先移向隔倉闆,同時将小研磨體陸續排擠到另一端。所以,卸料箅闆不宜采用輻射狀箅孔。
.jpg)
圖1-17箅孔排列形式
箅孔的寬度一般以7-8mm為宜,過大時物料流速快,産品容易偏粗,而且鐵段碎塊容易通過箅孔竄入前一倉,當箅孔過小時,箅孔容易堵塞,物料流速太慢,容易滿磨。為了防止箅孔堵塞、隔倉闆出口面上的孔寬應為出口面上孔寬的1.5-2倍。、隔倉闆上所有箅孔面積之和與其整個面積之比的百分數稱為隔倉闆的通孔率,其中幹法磨機的通孔率應不小于 7%-9% 。
球磨機磨機進、出料裝置是磨機整體中一個組成部分。物料和水(濕法磨)或氣流(幹法磨)通過進料裝置進入磨内,通過出料裝置排出磨外。
1、進料裝置
送入球磨機的物料,除了破碎産品以外,還有球磨機排料中的粗粒級(返砂)。當球磨機和分級機組成閉路粉磨系統,分級機将球磨機的排料分為細粒級和粗粒級兩部分,細粒級是合格産品,粗粒級将返回球磨機進口同破碎物料一起進入球磨機粉磨。為了把破碎産品和返料送入球磨機,需要在球磨機的給料端安裝給料器。
(1)溜管給料器(圖 1-18 )
物料經溜管(或稱進料漏鬥)進入位于磨機中空軸頸裡面的錐形套筒,沿着旋轉的筒壁自行滑入磨機内,溜管斷面呈橢圓形。
圖 1-18 溜管進料
1—溜管;2—錐形套筒;3—中空軸頸
由于物料靠自溜作用向前移動,所以溜管的傾角必須大于物料的安息角,才能确保物料的暢通。此種進料裝置的優點是結構簡單,其缺點是喂料量較小,适用于中空軸頸直徑較大而長度又較短的球磨機。
(2)鼓形給料器(圖1-19)
隻用于給料位置高于球磨機軸線的工藝位置。一般用于開路磨碎系統,将破碎産品送入球磨機進行磨碎。該給料器由圓錐形筒體,蓋子,隔闆組成,三部件由螺釘聯接。筒體内部有螺旋形隔闆,蓋子是截錐形短筒,左方的孔是進料孔,隔闆在筒體和蓋子之間,用鋼闆制成。隔闆上有一個使物料進入筒體螺旋部的扇形孔,當物料由蓋子的給料圓孔給入後,經過隔闆上的扇形孔進入筒體,由筒體内部的螺旋形舉闆舉起,自右方送入球磨機的中空軸頸内,這種給料器的給料粒度達70mm。
(3)螺旋給料器(圖1-20)
螺旋給料器的工作原理同鼓形給料器相同,但結構不相同。其工作原理為:物料由給料漏鬥送入勺輪,回轉的勺輪将物料提升上去,再由葉輪直接倒在位于中空軸裡面的螺旋套筒内,内螺旋葉片就把物料輸送到磨機内。
圖 1-19 鼓形給料器
1—筒體;2—蓋子;3—隔闆

圖1-20螺旋給料
1—給料漏鬥;2—勺輪;3—中空軸;4—螺旋套筒
為防止在固定給料漏鬥與回轉勺輪之間漏料,要求勺輪入口半徑與勺輪半徑的差值H必須大于物料的堆積高度,并在環形間隙的地方用氈片或浸油麻繩密封。為避免較熱物料和氣流對主軸承傳熱過快,在中空軸和螺旋套簡之間預留一定間隙、使之形成空氣隔熱層。
此種給料裝置的喂料量計算如下:
![]()
式中 D1———螺旋筒内徑,m; S ———螺距或導程,m;
φ ———裝填系數,一般為 0.5 ;
α———螺旋角,α≤45°,一般取 α=30°。
螺旋給料裝置是強制性喂料。它的優點是喂料量大,缺點是構造較複雜,鋼闆焊接件容易磨損,适用于喂料量大而中空軸直徑較小又較長的磨機。
(4)蝸形給料器(圖 1-21 )
蝸形給料器有一螺旋形的勺子,在轉動時使物料沿勺子内壁逐漸向勺底滑動。勺底處的側壁上有一個圓孔,圓孔與球磨機中空軸頸的孔對齊,物料經側壁圓孔和中空軸頸進入球磨機内。給料的外殼由鋼闆焊成,内部襯以鋼闆,在勺子末端裝有可更換的勺頭,勺頭由高錳鋼或合金鑄鐵制成。蝸形給料器能将料漿從低于球磨機軸線的位置鏟起來并提升、送入球磨機。
.jpg)
圖 1-21 蝸形給料器 1—勺子;2—勺頭
(5)聯合給料器(圖 1-22 )
聯合給料器是鼓形給料器和蝸形給料器功能聯合一體的給料器,筒體和蓋子與鼓形給料器相似,而勺子和勺頭又與蝸形給料器相似。粗粒給料可以通過蓋的孔直接由螺旋形隔闆提升并送入中空軸頸,而在料槽中的返砂(分級後的粗料)由勺和勾頭掏起後經筒體的螺旋隔闆送入中空軸頸。這種方式不僅提高給料器的生産量,而且粗粒物料(破碎産品)不需由勺子掏起,從而減少勺子的磨損。聯合給料器适用于閉路磨碎流程。

圖 1-22 聯合給料器
1—筒體;2—勺子;3—勺頭;4—蓋子
2、出料裝置
(1)溢流型球磨機内的物料或料漿的料位,取決于排料端中空軸頸的大小,其料位通常比格子型球磨機的料位高。由于本機的破碎産品經中空軸頸溢流排出,因而在某些條件下,排料不像格子型球磨機那樣順暢,使某些已經達到磨碎細度的産品不能及時排出,而繼續受到鋼球的沖擊和研磨,導緻産生“過粉碎”。這個僅消耗能量與鋼材,而且給下步工序帶來困難,可能産生不合格産品。
(2)格子型球磨機利用排料格子來加速排料,在筒體内靠近格子闆的物料料位較低,從而物料重量同鋼球重量的比值較低,使物料受到鋼球更強烈的沖擊和研磨,加以排料較快,使磨碎效率和生産量得以提高,過粉碎現象得以減少。
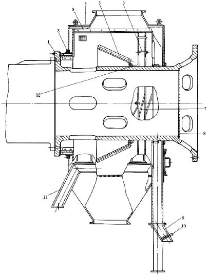
格子闆(出料箅闆)的孔型、尺寸和排列方式的變化較多,而這些因素都會影響磨機的磨碎效果、孔眼是否堵塞、物料的通過量等。為防止物料或小鋼球堵塞孔眼,格子闆的孔眼通常為傾斜孔,即物料通過時孔的寬度越來越大,其斜度通常為3°-6°,篩孔在小端的寬度為8-20mm。格子闆一般用高錳鋼制造。此種格子型磨機可用于幹法和濕法磨碎。幹式磨碎時,磨碎産品是粉末,幹粉末的流動性是很好的,可以不斷地從給料端經格子闆向排料端流動,而且在出料管内還鑄有或焊有輸料螺旋葉片,其螺旋方向與球磨機旋轉方向相同,以促使物料迅速排出機外。濕法磨碎時,出料管的外端制成喇叭口形,便于料漿流出,見圖1-23、圖1-24。

圖 1-23 磨機卸料端裝置
1—筒體;2—格子闆;3—端蓋襯闆;4—端蓋;
5—螺栓;6—錐形卸料體;7—螺旋套筒;8—中空軸
河南鄭州球磨機價格詳細垂詢:+852-13368035
河南鄭州球磨機廠家地址:鄭州-國家高新技術産業開發區檀香路8号
上一篇:對輥破碎機的工作原理與結構
下一篇:雷蒙磨(雷蒙磨粉機)概述
想了解設備資料?報價?售後?請留言,速回電
廠家直銷,留言立享本月優惠價免費提供環保政策、辦廠手續、投資預算等資料
3分鐘前 高先生:時産200噸制砂機報個價,處理鵝卵石
8分鐘前 李先生:移動式破碎機怎麼解決粉塵問題?
13分鐘前 徐女士:需要制砂機,南甯能看制砂現場嗎?
16分鐘前 程先生:破碎生産線出個方案及報價,有什麼售後服務?
22分鐘前 鄭女士:想了解時産500噸錘破,加工石灰石
31分鐘前 吳先生:成套石頭破碎設備有嗎?給個詳細産品資料
36分鐘前 羅先生:每小時100噸左右的鄂破和反擊破,推薦下型号
42分鐘前 梁先生:膨潤土磨到200目,用什麼磨粉設備?
提交留言我們會第一時間回複您!
随着工業領域對螢石球磨機需求量的增加,在國内湧現了大量的螢石球磨機廠家,使得螢石球磨機價格也參差不齊,為了協助用戶選購到優質、廉價的螢石球磨機設備,下文專門對螢石球磨機價格及廠家進行了簡要闡述,為用戶選購到合适的設備奠定了基礎。
2017-01-07球磨機屬于選礦類設備,它的功能與作用就是對各種物料實現磨礦作業,随着該設備應用範圍的不斷深入,它對物料種類的加工範圍也是越來越寬泛,包括金屬礦、非金屬礦以及黑色金屬等等,并且加工之後所呈現出的物料狀态都能達到客戶滿意的效果。節能型球磨機是針對能源方面的過度消耗而新研制的一種設備,它不僅工作效率高,并且在節能環保領域能凸顯該設備的具體優勢,從市場上的銷售量我們不難發現:該設備是功能性極強的設備,客戶對它的評價相當高,這也是該設備有如此高銷量的主要原因之一。
2016-07-28球磨機不但在建材工業中廣泛應用,而且在冶金、選礦、化工、電力等工業中也廣泛采用。本文主要介紹球磨機結構組成,工作原理,優點和缺點。
2014-04-15球磨機内部裝有的襯闆可完成磨機對物料的沖擊與研磨過程,不僅可以保護磨機的筒體,還可以對研磨體在筒體内的運動狀态進行調整,總之,對磨機的粉磨效率、粉磨速度等有很大的影響。
2013-03-18老式球磨機能耗較高,生産效率較低,産量較低,維修量較大,機械自動化較低加大了我們工作的強度。那麼我們今天就介紹一些用先進的工藝改善老式球磨機的方法,希望能為大家帶來幫助。
2012-10-25球磨機中内部通風的重要性:磨機内部的通風重要,對磨機的産量和質量都有明顯影響。合理向球磨機内通風作用如下所示
2011-12-23